網絡資源管理平臺
2012-10-21 19:46:37 來源:計算機畢業設計網 瀏覽:111次內容提要:【編號:118】該畢業設計采用了JSP語言開發,數據庫是sqlserver2000以上的版本,實現了網絡資源的在線管理。
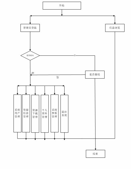
網絡資源管理系統,采用了BS架構實現的一款典型的后臺管理系統,系統分為系統管理員權限和一般用戶的權限,主要功能如下所示:

系統后臺界面以淡藍色的清爽界面開發,如圖所示:

系統用戶管理:
權重設置:對用戶的權重信息進行查詢設置,并能進行編輯。
個人資料管理:對個人資料的信息進行管理,并能修改用戶信息和密碼。
網絡資源信息管理:對網絡資源信息進行上傳管理,并能刪除不需要的資源信息。
財務信息管理:針對財務信息進行在線管理。
市場營銷信息管理:對市場營銷信息進行管理設計,并能提供市場方面的信息和管理指南。
管理資源下載:對用戶下載的資源和用戶的情況進行管理,查詢。
普通注冊用戶:
管理用戶信息:對自己的信息進行修改管理,并能管理自身密碼。
在線資源查詢:注冊用戶,可以在線查詢資源情況。
資源下載:注冊用戶擁有下載上傳后的資源權限。



